印度羽毛球公开赛次轮:黄荻/任翔宇1-2刘广珩/杨博涵,无缘晋级
WTT球星挑战赛多哈站男单1/32决赛:周启豪3-2击败维卡诗·塔卡
印度羽毛球公开赛次轮:程星/张驰0-2不敌马蒂亚斯/博尔
WTT球星挑战赛多哈站女双1/8决赛:蒯曼/陈熠3-1申裕斌/朱芊曦
澳网表演赛:阿尔卡拉斯2-0战胜德米纳尔,单打正赛将在18日开打
渝媒:张水华已确认获本周末重马的参赛资格 精英选手排第6

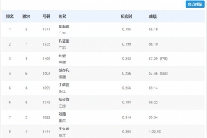
体育资讯11月17日讯 全运会田径女子400米栏决赛,莫家蝶以55秒19的成绩夺得金牌,孔莹蓥获得银牌,欧莹获得铜牌。
女子400米栏决赛成绩详情如下:
1 莫家蝶 55.19
2 孔莹蓥 56.10
3 欧莹 57.29(PB)
4 邹亦凡 57.46(SB)
5 丁依蕊 59.14
6 陆长薇 59.22
7 刘薇 59.34
8 王久香 1:02.16